ในโลกที่สถาบันการเงินต้องเผชิญกับความซับซ้อนของธุรกรรม ความเปลี่ยนแปลงของเทคโนโลยี และแรงกระเพื่อมของเศรษฐกิจระดับโลก การบริหารจัดการความเสี่ยงได้กลายมาเป็นเสาหลักสำคัญที่ไม่สามารถมองข้ามได้อีกต่อไป การเปลี่ยนแปลงเหล่านี้ ไม่ได้เพียงเพิ่มความท้าทายในการดำเนินงาน แต่ยังสร้างภารกิจใหม่ให้กับผู้บริหาร ผู้ควบคุมภายใน และผู้ตรวจสอบในการวิเคราะห์จุดเปราะบางขององค์กรก่อนที่ปัญหาจะเกิดขึ้นจริง
สถาบันการเงินจำเป็นต้อง “มองให้ไกล” กว่าปัญหาที่อยู่ตรงหน้า การจัดการความเสี่ยงไม่ใช่แค่การแก้ไขเมื่อปัญหาเกิดขึ้น (after the fact) แต่ต้องรวมถึงการวางแผนล่วงหน้า (before the fact) โดยอาศัยข้อมูล การวิเคราะห์ และระบบควบคุมที่รัดกุมในทุกมิติของธุรกรรม เพื่อป้องกันความเสียหายทั้งในระดับองค์กรและระบบเศรษฐกิจของประเทศ
หนังสือ “การจัดระบบควบคุมความเสี่ยงของสถาบันการเงินเล่มนี้” จึงมุ่งนำเสนอแนวคิด ประสบการณ์ และบทเรียนที่สั่งสมมาจากการปฏิบัติจริงในภาคสนาม ผ่านสายตาของผู้ที่อยู่ในภารกิจการกำกับดูแลสถาบันการเงินโดยตรง เพื่อเป็นแนวทางแก่ผู้บริหาร ผู้ตรวจสอบ และผู้ที่เกี่ยวข้องทุกภาคส่วน ในการวางระบบควบคุมภายในและการบริหารความเสี่ยงอย่างเป็นรูปธรรม
เพราะในท้ายที่สุดแล้ว ความมั่นคงของสถาบันการเงินไม่ได้เกิดจากการหลีกเลี่ยงปัญหา แต่เกิดจากการเผชิญหน้าและเตรียมรับมือกับปัญหานั้นอย่างชาญฉลาดและมีจริยธรรม
ผมจึงได้นำหนังสือ “การจัดระบบควบคุมความเสี่ยงของสถาบันการเงิน” มาเผยแพร่ไว้ ณ ที่นี้ http://www.itgthailand.wordpress.com ถึงแม้จะล่วงเวลามาพอสมควร แต่ผมคิดว่าก็น่าจะเป็นประโยชน์ต่อผู้ที่เกี่ยวข้องบ้าง ไม่มากก็น้อย
การจัดระบบควบคุมความเสี่ยงของสถาบันการเงิน
คํานํา
- การดําเนินธุรกิจของสถาบันการเงิน เช่น ธนาคารพาณิชย์ บริษัทเงินทุนและบริษัทเครดิต ฟองซิเอร์ ปัจจุบันมีความสลับซับซ้อนมากยิ่งขึ้น ต้องมีการติดตามนวัตกรรมทางการเงินใหม่ ๆ (Financial Innovation) และข้อมูลข่าวสารทางการเงินจากทั่วโลก (Globalization) ดังนั้น สถาบันการเงินต่าง ๆ จึงพยายามแข่งขันกันลงทุนปรับปรุงเทคโนโลยี (Technology) ด้านการเงินให้ทันสมัย ซึ่งทําให้การทําธุรกรรมของสถาบันการเงินมีความยุ่งยากและซับซ้อน ก่อให้เกิดความเสี่ยงซึ่งจะมีผลทําให้เกิดความเสียหายเป็นจํานวนสูงมากยิ่งขึ้น
- การศึกษาและวิเคราะห์ความเสี่ยงรวมทั้งการบริหารความเสี่ยงในด้านต่าง ๆ หรือการมองปัญหาให้พบและหาหนทางป้องกันก่อนที่ปัญหานั้นจะเกิดขึ้นในองค์กรตามธุรกรรมขององค์กร เป็นการชี้ให้เห็นถึงปัญหาและหาหนทางแก้ไขปัญหาล่วงหน้า ในลักษณะมองประเด็นปัญหาที่จะเกิดกับสถาบันการเงินต่าง ๆ ให้ออก และหาหนทางแก้ไข หรือป้องกันล่วงหน้าก่อนที่ปัญหาเหล่านั้นจะลุกลามให้กลับมาเป็นปัญหาที่องค์กรนั้น หรือทางการต้องหาทางแก้ไขในที่สุด (Point to the problem before it points to us) โดยรวมถึงกิจกรรมที่ทําให้เกิดความเสี่ยง ซึ่งเป็นที่มาของการวางกฎเกณฑ์ การออกระเบียบกับสิ่งที่เกี่ยวข้องกับการควบคุมภายในขององค์กร ดังนั้น การเน้นถึงจุดควบคุม ผู้ปฏิบัติและผู้ตรวจสอบ ตลอดจนถึงผู้บริหาร ระดับสูง ซึ่งควรเข้าใจถึงที่มาของการควบคุม นั้น เพราะการวิเคราะห์ความเสี่ยง เพื่อหาทางป้องกันหรือบรรเทาปัญหาที่อาจเกิดขึ้นต่อองค์กร เป็นการเข้าถึงการควบคุมภายในและการตรวจสอบ ตลอดจนการปฏิบัติงานที่มีประสิทธิภาพยิ่ง ความสําเร็จที่สมบูรณ์ของแนวความคิดนั้น ก็คือ การไม่มีปัญหาต้องแก้ไขในภายหลัง หรือหากจะมีก็ต้องมีให้น้อยที่สุดนั่นเอง
- การมองภาพปัญหาที่อาจจะเกิดขึ้นได้ในอนาคตทั้งในวงแคบและในวงกว้าง เป็นเรื่องที่ต้องใช้ความสามารถและความเข้าใจ ในเรื่องที่เกี่ยวข้องกับการปฏิบัติงานของสถาบันการเงินในด้านต่าง ๆ ตลอดจนภาวะเศรษฐกิจ การเงิน การคลังและสังคม ทั้งในประเทศและต่างประเทศ นวัตกรรม ทางการเงินใหม่ ๆ รวมทั้งปัจจัยสิ่งแวดล้อมอื่นของสถาบันการเงินที่เปลี่ยนแปลงไป เช่น การพัฒนาการดําเนินงานและการให้บริการไปสู่ระบบ ELECTRONIC BANKING การเข้าไปสู่ยุค PAPERLESS SYSTEM และกลไกการโอนเงินชําระหนี้ระหว่างประเทศที่เปลี่ยนแปลงไปมากเหล่านี้ มีส่วนทําให้ต้องมีการพัฒนาและเปลี่ยนแปลงด้านนโยบายและการปฏิบัติงาน ทั้งของสถาบันการเงินและธนาคารแห่งประเทศไทย ในฐานะเป็นผู้รับผิดชอบในการกํากับดูแลการดําเนินงานของสถาบันการเงินในส่วนที่เกี่ยวข้องด้วย ระเบียบคําสั่งและกฎเกณฑ์ต่าง ๆ ที่ประกาศตามความในพระราชบัญญัติสถาบันการเงินนั้น ก็มุ่งที่จะลดความเสียหายที่อาจเกิดขึ้น และส่งเสริมให้การดําเนินงานของสถาบันการเงินต่าง ๆ ให้มีความมั่นคงเป็นที่เชื่อถือของคนในสังคม ทั้งในและต่างประเทศ รวมทั้งมุ่งหวังให้สถาบันการเงิน มีส่วนร่วมช่วยเหลือเกื้อกูลการพัฒนาสังคมและเศรษฐกิจของประเทศ ตามกําลังและความสามารถที่จะกระทําได้
- การกํากับและตรวจสอบสถาบันการเงินตลอดจนการให้คําชี้แนะการแก้ไขปัญหาเป็นการล่วงหน้า ทั้ง ๆ ที่ปัญหาหรือความเสียหายยังไม่ทันจะเกิดขึ้นกับสถาบันการเงินที่ธนาคารแห่งประเทศไทยดูแลนั้น ในบางครั้งอาจมีผู้ได้รับคําแนะนํามักจะสงสัยทั้งในหลักการ วิธีการ ตลอดจนแนวการปฏิบัติของผู้ตรวจการฯ จากธนาคารแห่งประเทศไทยอยู่บ้าง เพราะอาจมองเห็นภาพยังไม่ชัดเท่ากับเหตุการณ์ที่เกิดขึ้นแล้ว (after the fact) ดังนั้น ผู้ตรวจการฯ ในปัจจุบันของธนาคารแห่งประเทศไทย จึงได้มองภาพของปัญหา ทั้งในลักษณะ after the fact และ before the fact ควบคู่กันไป ส่วนการจะเน้นในวิธีการใดมากกว่ากัน ก็ขึ้นกับเหตุการณ์เป็นกรณี ๆ ไป เช่น เมื่อมีปัญหาเกิดขึ้นแล้ว ทางเราจะพิจารณาหาทางแก้ไขปัญหาอย่างรีบด่วนก่อน แล้วก็จะมีมาตรการป้องกันปัญหาที่อาจเกิดขึ้นต่อไป และในกรณีที่เหตุการณ์ปกติ ผู้กํากับและผู้ตรวจการฯ ก็จะศึกษาหาทางป้องกันปัญหาที่อาจจะเกิดขึ้น เพื่อลดความเสี่ยงจากการดําเนินงานด้านต่าง ๆ ของสถาบันการเงินด้วย
- สาระของหนังสือเล่มนี้ได้มุ่งวิเคราะห์ความเสี่ยงที่อาจเกิดขึ้นกับธุรกรรมต่าง ๆ ที่สถาบันการเงินให้บริการแก่ลูกค้าของตน ที่อาจก่อให้เกิดความเสียหาย และหาแนวทางป้องกันปัญหาล่วงหน้าที่อาจกระทําได้ เพื่อบรรเทาความเสียหายที่เกิดขึ้น และเป็นแนวทางเบื้องต้นสําหรับผู้บริหารและสําหรับผู้ตรวจสอบ ที่จะใช้เป็นเครื่องมือช่วยในการตรวจสอบ ประเมินประสิทธิภาพของระบบการควบคุมภายในของสถาบันการเงิน ในการควบคุมและป้องกันความเสี่ยงในแต่ละธุรกรรมของตนเอง ในอีกรูปแบบหนึ่งที่เข้าใจได้ง่าย ๆ อย่างไรก็ดี ผมและเพื่อนร่วมงานก็ไม่อาจระบุกิจกรรมที่ก่อให้เกิดความเสี่ยงของธนาคารพาณิชย์ และสถาบันการเงินได้ครบถ้วน ผู้อ่านจึงต้องใช้ดุลยพินิจเพิ่มเติมด้วย
- หนังสือเล่มนี้ได้พิมพ์เผยแพร่โดยส่วนกํากับสถาบันการเงิน เพื่อเป็นเครื่องเสริมความเข้าใจต่อผู้ตรวจสอบของส่วนกํากับสถาบันการเงินของธนาคารแห่งประเทศไทย และเป็นความร่วมมือระหว่างธนาคารแห่งประเทศไทย สาขาภาคตะวันออกเฉียงเหนือ กับสถาบันการเงินในภูมิภาคฯ เท่าที่ทําได้ เพื่อทําให้สถาบันการเงินมีเสถียรภาพและความมั่นคง โดยการเข้าใจปัญหาที่อาจเกิดกับองค์กรของตน ซึ่งได้จัดพิมพ์เพิ่มเติมและแก้ไขทั้งเนื้อหาสาระที่ไม่ได้พิมพ์มาก่อนหลังจากได้ดําเนินการเผยแพร่ไปแล้ว เมื่อปี พ.ศ. 2537 ในภาคตะวันออกเฉียงเหนือ และผมเองได้ใช้เนื้อหากิจการที่ก่อให้เกิดความเสี่ยงของธนาคารพาณิชย์และสถาบันการเงิน ในการบรรยายให้แก่องค์กรต่าง ๆ ในอดีตหลายแห่ง ตั้งแต่ปี พ.ศ. 2534 ที่กรุงเทพมหานครและต่างจังหวัด ก่อนนํามาเผยแพร่ที่ภาคตะวันออกเฉียงเหนือ ในปี พ.ศ. 2537 ซึ่งผู้อ่านส่วนใหญ่ที่เป็นผู้ตรวจสอบ และผู้ที่อยู่ในวงการสถาบันการเงินได้ให้ความสนใจและเห็นว่าเป็นประโยชน์ต่อสถาบันการเงิน และการทําความเข้าใจในแง่การบริหารความเสี่ยงที่เข้าถึงจุดควบคุมที่เห็นชัดเป็นรูปธรรม และปฏิบัติได้
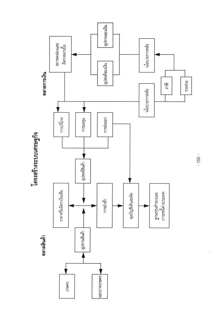
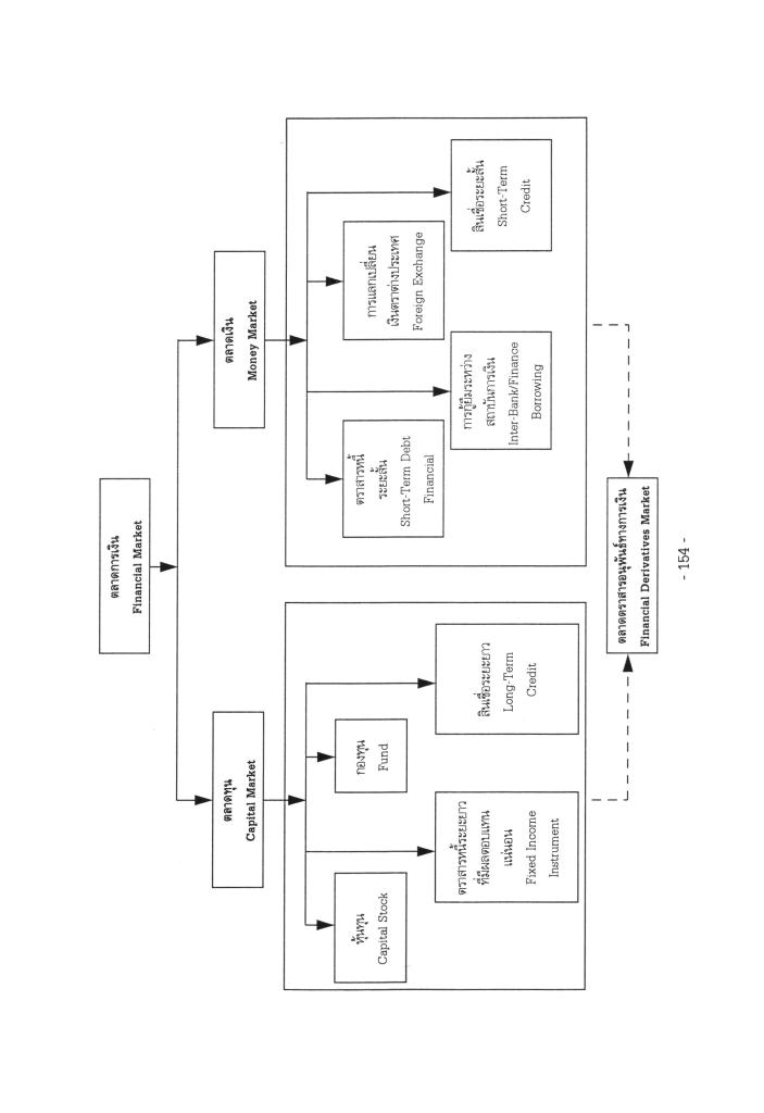
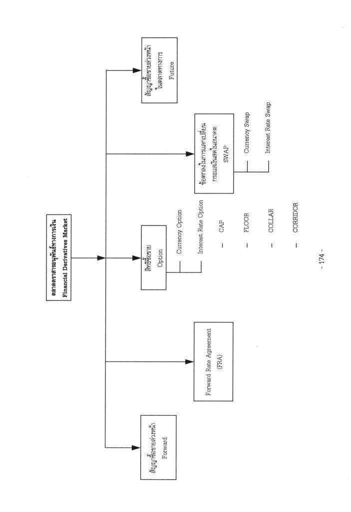
- ผมหวังว่าเอกสารฉบับนี้ คงจะเป็นประโยชน์ต่อท่านที่สนใจในเรื่องที่เกี่ยวกับการบริหารสถาบันการเงินตามสมควร การพิมพ์ครั้งนี้ได้แก้ไขและเพิ่มเติมเนื้อหาให้ครอบคลุมบริษัทเงินทุนที่ไม่เคยเผยแพร่มาก่อน และนวัตกรรมทางการเงินใหม่ ๆ เช่น อนุพันธ์ทางการเงิน (Financial Derivative) รวมทั้งเพิ่มภาคผนวกเกี่ยวกับตลาดทางการเงิน (Financial Market) เช่น ตลาดทุน ตลาดเงิน และ ตลาดตราสารอนุพันธ์ พร้อมคําอธิบายผลิตภัณฑ์ทางการเงิน (Financial Product) โดยย่อ เพื่อให้มีเนื้อหาเครื่องมือทางการเงินครบถ้วนสมบูรณ์ยิ่งขึ้น โดยยังคงรักษาลักษณะการวิเคราะห์ความเสี่ยงธุรกรรมการเงินของสถาบันการเงินไว้ในรูปแบบเดิม ทั้งนี้ เพื่อให้ผู้ตรวจสอบในส่วนกํากับสถาบันการเงินและสถาบันการเงิน ที่ธนาคารแห่งประเทศไทย สาขาภาคตะวันออกเฉียงเหนือ ดูแลอยู่ได้ใช้เป็นการศึกษาเพื่อเพิ่มประสิทธิภาพในการตรวจสอบเป็นสําคัญ
- การจัดรูปแบบการอธิบายถึงกิจกรรมที่ทําให้เกิดความเสี่ยง ตัวบ่งชี้ความเสี่ยง และการควบคุมความเสี่ยงที่อธิบายในหนังสือเล่มนี้ เป็นการค้นคว้าของผู้ตรวจสอบในส่วนที่ผมได้ดูแลและรับผิดชอบ ตลอดจนมอบหมายให้ดําเนินการ โดยอาศัยพื้นฐานและประสบการณ์จากแนวความคิดและการศึกษาเรื่องการวิเคราะห์ความเสี่ยงที่ใช้ Concept จากหนังสือของต่างประเทศ มาประยุกต์ใช้อธิบายในรูปแบบที่ผมคิดว่า จะทําให้ผู้ตรวจสอบและผู้บริหารงานที่เกี่ยวข้องได้เข้าใจเรื่องที่ใกล้ตนเองได้ง่ายขึ้น
- ความเสี่ยงที่น่ากลัวที่สุดในการบริหารสถาบันการเงินก็คือ ผู้บริหารระดับสูงไม่สนใจการควบคุมกิจกรรมที่ก่อให้เกิดความเสี่ยงเท่าที่ควรประการหนึ่ง และที่สําคัญ ซึ่งถือเป็นหัวใจของความสําเร็จหรือความล้มเหลวของการบริหารสถาบันการเงิน ก็คือ ผู้บริหารระดับสูงขาดจรรยาบรรณและขาดคุณธรรม ในการบริหารการเงินในองค์กรของตนนั่นเอง ซึ่งหน่วยงานที่เกี่ยวข้องควรให้ความสนใจความเสี่ยงทางจรรยาบรรณ หรือความเสี่ยงทางบริหาร อันเกิดจากความผิดพลาดของผู้บริหาร รวมทั้งการทุจริตของผู้บริหารให้มากขึ้น โดยการเพิ่มการดูแลระบบการบริหารงานและความเสี่ยงต่าง ๆ ที่เกี่ยวข้องกับระบบการบริหาร และการดําเนินงานของสถาบันการเงินให้มากยิ่งขึ้น ก่อนที่จะเกิดปัญหากับสถาบันการเงินตามมา ซึ่งจะมีผลกระทบต่อเศรษฐกิจและระบบการเงินของประเทศได้ในที่สุด
หนังสือที่ได้ปรับปรุงขึ้นใหม่เล่มนี้ จึงได้นําเรื่องที่ผมคิดว่าน่าสนใจมาก สําหรับผู้บริหารสถาบันการเงินและผู้ตรวจสอบ นั่นคือ เรื่อง “สัญญาณเตือนภัยของการทุจริตและการประพฤติมิชอบของพนักงานธนาคาร” มารวบรวมไว้เป็นบทแรกแทนที่จะอยู่ในภาคผนวก เพราะสิ่งนี้เป็นปัญหาที่ควบคุมได้ยาก ไม่ว่าจะมีวิธีวิเคราะห์ความเสี่ยงดีเลิศประการใดก็ตาม ก็ไม่อาจใช้กับผู้บริหารของสถาบันการเงินที่ขาดจรรยาบรรณและมีพฤติกรรมมิชอบได้ - ขอขอบคุณเพื่อนร่วมงานในอดีต ที่ช่วยพยายามคิดค้นกิจกรรมที่ก่อให้เกิดความเสี่ยงในสถาบันการเงิน ซึ่งทําให้เข้าถึงการควบคุมที่เหมาะสมได้อย่างมีประสิทธิภาพ ผู้ที่มีส่วนช่วยเหลือในอดีต ก็คือ ผู้ร่วมงานกับผมในช่วงที่ผมอยู่ฝ่ายกํากับและตรวจสอบธนาคารพาณิชย์ และฝ่ายกํากับและตรวจสอบสถาบันการเงินเดิมก่อนแยกหน่วยงานใหม่ ซึ่งผมได้แนวความคิดการเข้าถึงจุดควบคุมต่าง ๆ ในกิจกรรมที่ก่อให้เกิดความเสี่ยง จากการศึกษาและประสบการณ์จากการตรวจสอบธนาคารพาณิชย์ด้านคอมพิวเตอร์ ส่วนงานพิเศษที่ผมรับผิดชอบอยู่ในช่วงนั้น และขออภัยที่ไม่อาจกล่าวนามทั้งหมดได้ เพราะเป็นกิจกรรมที่ได้ดําเนินการมานานก่อนการมารับหน้าที่ใหม่ที่ธนาคารแห่งประเทศไทย สาขาภาคตะวันออกเฉียงเหนือ จังหวัดขอนแก่น เมื่อเดือนตุลาคม พ.ศ.2536
อย่างไรก็ดี ผู้ที่มีส่วนช่วยเหลือเพิ่มเติมในการรวบรวมนวัตกรรมทางการเงินใหม่ ๆ ซึ่งอยู่ในภาคผนวก เพื่อทําให้หนังสือเล่มนี้มีความสมบูรณ์เพิ่มขึ้นก็ได้แก่ เพื่อนร่วมงานในส่วนกํากับสถาบันการเงินจากธนาคารแห่งประเทศไทย สาขาภาคตะวันออกเฉียงเหนือ ซึ่งผมได้แนะนําให้ศึกษาและรวบรวมจากเอกสารที่น่าศึกษา ในบางเรื่องเป็นเรื่องใหม่มากและยังไม่มีความชัดเจนในปัจจุบัน ผมและเพื่อนร่วมงาน ก็ได้ช่วยกันสรุปขึ้นมาจากความเข้าใจในเบื้องต้น เพื่อให้ได้เป็นข้อเขียนที่พอใช้อธิบายเท่าที่ทําได้ ดังนั้น หากท่านผู้อ่านท่านใดพบข้อสรุปหรือคําอธิบายใดที่อาจผิดพลาดหรือไม่ชัดเจน ขอได้โปรดแจ้งให้ผู้เขียนและผู้รวบรวมทราบด้วย เพื่อพิจารณาการปรับปรุงแก้ไขในคราวต่อไป ทั้งนี้ เพราะผมพิจารณาว่าการได้มีโอกาสช่วยกันศึกษาเรื่องใหม่ ๆ ที่มีประโยชน์ต่อผู้ที่เกี่ยวข้องทางการเงิน โดยเฉพาะอย่างยิ่งต่อผู้ตรวจสอบ จะมีส่วนช่วยให้ระบบสถาบันการเงินของประเทศไทยเราโดยส่วนรวมมีความมั่นคงเพิ่มขึ้นได้ทางหนึ่ง
จึงขอขอบคุณผู้ตรวจสอบส่วนกํากับสถาบันการเงิน ซึ่งประกอบด้วยคุณไตรวุฒิ เรืองจิรารัตน์ คุณชัชวาลย์ ตียะพาณิชย์ คุณกฤษดา พุทธนารัตน์ คุณชนัช เทียมมณีเนตร คุณชุติมา ไชยบุตร คุณก้องเกียรติ วินโกมินทร์ และคุณณัฐพงศ์ ศิริจริยวัตร ที่ได้ช่วยรวบรวมเอกสารอ้างอิงต่าง ๆ และจัดพิมพ์ภายในส่วนงาน จนสําเร็จเป็นรูปเล่ม ตลอดจนพนักงานในหน่วยวิชาการที่ช่วยกันดูโครงสร้างของตลาดการเงินไว้ ณ ที่นี้ด้วย
เมธา สุวรรณสาร ผู้อํานวยการธนาคารแห่งประเทศไทย
สาขาภาคตะวันออกเฉียงเหนือ
16 กรกฎาคม 2540
***** สำหรับท่านที่สนใจ หนังสือ “การจัดระบบควบคุมความเสี่ยงของสถาบันการเงิน” สามารถติดตาม เนื้อหา/ลิงก์ดาวโหลด ได้ที่ด้านล่างนี้ *****




















































































































































































































































